Вы видите систему как Профиль
Публичная номенклатура
Публичная номенклатура
Закупки
istock.info
Электронный номенклатурный справочник
Вход и регистрация
НТД
Действующий

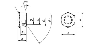
Гайки шестигранные нормальные самостопорящиеся цельнометаллические. Тип 1. Классы прочности 5, 8 и 10

НТД
ГОСТ ISO 7719-2014
Вид документа
Технические условия
Вариации товаров
Количество вариаций товаров по данному НТД
39
Производители
Количество производителей по данному НТД
Не указано
ГОСТ ISO 7719-2014 Гайки шестигранные нормальные самостопорящиеся цельнометаллические. Тип 1. Классы прочности 5, 8 и 10