Вы видите систему как Профиль
Публичная номенклатура
Публичная номенклатура
Закупки
istock.info
Электронный номенклатурный справочник
Вход и регистрация
НТД
Действующий

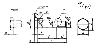
Болты с уменьшенной шестигранной головкой из титанового сплава для соединений со специальной переходной посадкой

НТД
ОСТ 1 12085-77
Вид документа
Конструкция, Размеры
Вариации товаров
Количество вариаций товаров по данному НТД
600
Производители
Количество производителей по данному НТД
Не указано
ОСТ 1 12085-77 Болты с уменьшенной шестигранной головкой из титанового сплава для соединений со специальной переходной посадкой